“孤寡青蛙”被多方商家注册为商标,商家抢注商标有何作用?
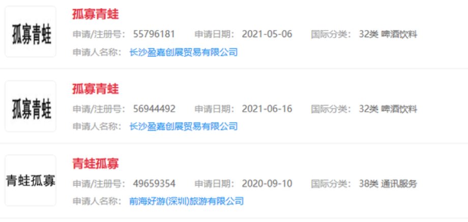
的有关信息介绍如下:8月4日七夕节的到来,让无数个单身汉们被称为了“孤寡青蛙”。据媒体报道,现在“孤寡青蛙”已被多方商家注册为商标,涉及广告销售类的便有35例,啤酒饮料类的有32例,与“孤寡青蛙”联名的商标也有15个。
“孤寡青蛙”因青蛙的叫声类似孤寡的发音被众多网友引用,并借此嘲笑自己单身的朋友,因着七夕节的到来,更是尤其,又是一年七夕,朋友仍是单身,由此“孤寡青蛙” 的引用也就更多了。此次在七夕前夕被多方商家注册为商标的孤寡青蛙,可能也是商家为了盈利而注册的,借着孤寡商标的名义对自己的品牌以及商品进行宣传或者引用,都可能会成为小赚一笔的方法。如此一来,就是用商标注册成功后的转卖而盈利,这用商业名词来说是抢注投机型,商标注册成功后的商标保持不变。
其实商家抢注商标还有另一个作用,那就是注册商标本人与其他商家出于竞争的目的抢注商标,这种情况下就极有可能是恶意抢注商标,也就是商品国际厂商的恶意竞争。不过这种现象还是比较少的,毕竟没有那么多人愿意顶着违法犯罪的道路而进行商业竞争。其实商标是对创新设计以及外观设计企业名号等等申请的专利,若是申请的专利的商品不同,那么就算名字相同也没有关系。上面的商品,一个是苹果取名叫户外青蛙,一个是皮球取名叫孤寡青蛙,这两者相差甚远,也就不存在商标的专用唯一使用权。因这两者的兼容性,也就导致了多方商家共同注册“孤寡青蛙”为商标。
“孤寡青蛙” 的大范围被注册为商标,相信在以后的商品上面,我们会大范围的看见“孤寡青蛙” 这一名词的出现。商家抢注商标也就是为了赚钱纯粹为获利,这种网络热词的出现带给了自家商品的热度,借这波热度来营销,何乐而不为呢。



